本文介绍了永安至泰宁的汽车票价信息,由于具体票价可能因时间、季节等因素而有所不同,因此建议读者在出行前通过官方渠道查询最新票价,永安到泰宁的汽车票价在几十元至百元不等,具体价格还需根据实际情况进行查询,本文还提供了关于购票、乘车等注意事项的详细信息,帮助读者更好地安排行程。
永安和泰宁,这两个美丽的城市都位于福建省内,各自拥有独特的自然风光和丰富的文化底蕴,随着旅游业的不断发展,越来越多的人选择前往这两个城市游玩或进行商务活动,对于想要从永安前往泰宁的旅客来说,了解永安到泰宁汽车票价就显得尤为重要,本文将详细解析永安到泰宁的汽车票价及相关信息。
永安与泰宁的简介
永安市位于福建省中部,是一个历史悠久、文化底蕴深厚的城市,这里山清水秀,景色宜人,拥有丰富的自然资源和人文景观,而泰宁则是一个以丹霞地貌和历史文化闻名的城市,被誉为“丹霞之魂”,这里有着得天独厚的自然环境和独特的地貌景观,吸引了无数游客前来观光游览。
永安到泰宁的交通方式

从永安到泰宁,旅客可以选择多种交通方式,汽车是最为便捷和经济的方式之一,下面我们将重点介绍永安到泰宁的汽车票价及乘坐方式。
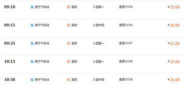
永安到泰宁汽车票价
永安到泰宁的汽车票价因季节、车型、发车时间等因素而有所不同,普通客车的票价相对较低,而豪华客车或旅游大巴的票价则会稍高一些,不同季节的票价也可能会有所调整,为了获取最准确的票价信息,建议旅客在出发前通过当地汽车站、在线购票平台或电话咨询等方式进行查询。

根据往年的数据和经验,永安到泰宁的汽车票价大致在50元至100元之间,具体价格还需根据实际情况进行查询和确认,旅客还可以关注当地的优惠政策和促销活动,以获取更优惠的票价。
如何购买永安到泰宁的汽车票
购买永安到泰宁的汽车票有多种方式,旅客可以通过以下途径进行购票:

乘坐永安到泰宁的汽车注意事项
本文详细解析了永安到泰宁的汽车票价及相关信息,通过了解当地的交通方式和购票方式,旅客可以更加便捷地前往泰宁游玩或进行商务活动,在乘车过程中,请遵守相关规定和注意事项,以确保旅途的顺利和安全,希望本文能为计划前往永安和泰宁的旅客提供有价值的参考信息。
发表评论